Dawar Steels Navbar
📞 +91-8000000746 ✉️ Dawarsteels@gmail.com
đź•’ Mon - Sat: 9:00 AM - 6:00 PM
bolts

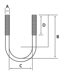
U BOLTS STANDARD LEG

Our standard U-bolts are crafted from high-quality mild or stainless steel, precision-shaped for secure fastening. Commonly used to attach pipes, round bars, or posts—and even as anchor bolts in concrete—they are available in zinc-plated or stainless finishes, with sizes ranging from M6 to M20. We also offer custom dimensions, materials, and finishes to meet specific project requirements.

bolts
THE DIMENSION GIVEN FOR U–BOLTS IS THE NOMINAL BORE (N.B.) OF THE PIPE. THE ACTUAL DISTANCE BETWEEN THE LEGS IS GREATER THAN THIS TO ALLOW FOR THE WALL THICKNESS OF THE PIPE. ALL OUR U–BOLTS ARE SUPPLIED WITH TWO HEX NUTS TO SUIT
NB MM NB NICHES A MM B MM C MM D MM
20MM 3/4IN 27 53 30 M6
25MM 1IN 36 60 30 M6
32MM 11/4IN 45 70 40 M10
40MM 11/2IN 51 75 40 M10
50MM 2IN 60 85 40 M10
65MM 21/2IN 76 100 40 M10
80MM 3IN 90 115 40 M12
100MM 4IN 114 140 40 M12
125MM 5IN 140 165 40 M12
150MM 6IN 170 200 50 M12
Dawar Steels Navbar